Volets roulants appliqués
Volets roulants appliqués OUTBOX MCA
Les volets roulants MCA OUTBOX sont la solution idéale pour l'instalation sur une menuiserie déjà existante. Le design des deux variantes s'harmonise parfaitement avec les détails de la façade. .
Avantages
- Fraîcheur "naturelle" qui ne permet pas la surchauffe de votre appartement pendant les jours de canicule.
- Ombre: flexibilité quant à la lumière naturelle qu'on laisse entrer dans la pièce; ainsi vous pouvez avoir un bon sommeil pendant la journée.
- Sécurité et protection contre les intrus. Les systèmes électriques permettent d'ouvrir et de fermer les volets aux heures voulues afin de simuler la présence.
- Intimité: protections des regards indiscrets surtout quand vos fenêtres donnent sur la rue ou bien sur l'appartement du voisin.
- Isolation thermique supérieure.
- Protection de la menuiserie contre la pluie, le vent, la neige ou la grêle.
- Protection de vos meubles et de vos décorations contre la décoloration et la dégradation.
- Manoeuvre manuelle ou bien à l'aide d'une télécommande.
- Large gamme de couleurs pour harmoniser les volets à la façade.
- Moustiquaire en option.
- Prévention des pertes de chaleur pendant l'hiver.
- Facture de chauffage réduite de 10%.
Présentation vidéo
-
Volets roulants appliqués - OUTBOX avec moustiquaire intégrée, caisson brun à pans coupés à 45 °, manoeuvre par sangle.
-
Volets roulants appliqués - OUTBOX avec moustiquaire intégrée, double, caisson brun à pans coupés à 45 °, manoeuvre par manivelle et sangle.
-
Volets roulants appliqués - OUTBOX avec moustiquaire intégrée, caisson brun à pans coupés à 45 °, manoeuvre électrique par télécommande
-
Volets roulants appliqués - OUTBOX avec moustiquaire intégrée, caisson à pan arrondi, manoeuvre par cordon.
-
Volets roulants appliqués - OUTBOX avec moustiquaire intégrée, double, caisson à pan arrondi, manoeuvre électrique par télécommande et interrupteur. /p>
-
Volets roulants appliqués - OUTBOX avec caisson à pan arrondi avec ressort et serrure.
Manœuvre et accessoires
Couleurs pour les lames de 37 mm
Couleurs pour les lames de 55 mm
Données techniques
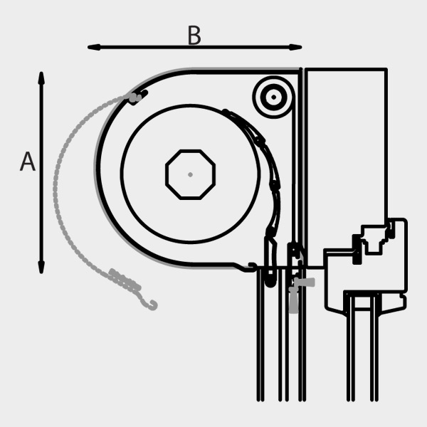
Volets roulants extérieurs appliqués sur la meunuiserie avec caisson à pans à 45°
| Lame | Dimensions du caisson | Dimensions de la coulisse | Largeur maximale |
Hauteur maximale | Surface maximale | ||||
|---|---|---|---|---|---|---|---|---|---|
| 37mm | A | B | C | D | 2600mm | Sangle | Manivelle/ressort/électrique | Sangle | Manivelle/ressort/électrique |
| 138mm | 138mm | 22mm | 53mm - simple 85mm - “H” |
1670mm | 1500mm | 2.5mp | 5mp | ||
| 150mm | 150mm | 2150mm | 2010mm | ||||||
| 165mm | 165mm | 2800mm | 2500mm | ||||||
| 180mm | 180mm | 3180mm | 2880mm | ||||||
| 205mm | 205mm | 3900mm | 3500mm | ||||||
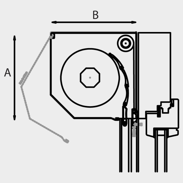
Volets roulants extérieurs appliqués sur la meunuiserie avec caisson à pans à 45° avec mousitquaire
| Lame | Dimensions du caisson | Dimensions de la coulisse | Largeur maximale |
Hauteur maximale | Surface maximale | ||||
|---|---|---|---|---|---|---|---|---|---|
| 37mm | A | B | C | D | 2600mm | Sangle | Manivelle/ressort/électrique | Sangle | Manivelle/ressort/électrique |
| 138mm | 138mm | 39mm | 53mm | 1100mm | 801mm | 2.5mp | 5mp | ||
| 150mm | 150mm | 1530mm | 1330mm | ||||||
| 165mm | 165mm | 2170mm | 1730mm | ||||||
| 180mm | 180mm | 2500mm | 2500mm | ||||||
| 205mm | 205mm | 2500mm | 2500mm | ||||||
Volets roulants extérieurs appliqués sur la meunuiserie avec caisson à pan arrondi
| Lame | Dimensions du caisson | Dimensions de la coulisse | Largeur maximale |
Hauteur maximale | Surface maximale | ||||
|---|---|---|---|---|---|---|---|---|---|
| 37mm | A | B | C | D | 2600mm | Sangle | Manivelle/ressort/électrique | Sangle | Manivelle/ressort/électrique |
| 138mm | 138mm | 22mm | 53 mm -simple 85 mm - “H” |
1670mm | 1500mm | 2.5mp | 5mp | ||
| 165mm | 165mm | 2700mm | 2450mm | ||||||
| 180mm | 180mm | 3270mm | 3050mm | ||||||
Volets roulants extérieurs appliqués sur la meunuiserie avec caisson à pan arrondi et moustiquaire
| Lame | Dimensions du caisson | Dimensions de la coulisse | Largeur maximale |
Hauteur maximale | Surface maximale | ||||
|---|---|---|---|---|---|---|---|---|---|
| 37mm | A | B | C | D | 2600mm | Sangle | Manivelle/ressort/électrique | Sangle | Manivelle/ressort/électrique |
| 138mm | 138mm | 39mm | 53mm | 1100mm | 800mm | 2.5mp | 5mp | ||
| 165mm | 138mm | 2430mm | 2060mm | ||||||
| 180mm | 180mm | 250mm | 2060mm | ||||||
Volets roulants extérieurs appliqués sur la meunuiserie avec caisson à pans coupés à 45°
| Lame | Dimensions du caisson | Sans moustiquaire électrique (à bouton poussoir ou bien à télécommande) |
||
|---|---|---|---|---|
| 55mm | A | B | Hauteur maximale | Surface maximale |
| 205mm | 205mm | 1920mm | 7mp | |
| 250mm | 250mm | 3380mm | 8mp | |
| 300mm | 300mm | 4300mm | 8mp | |







































